VESMETAL Deckensysteme, Streckmetall und Filter

Produktauswahl

Downloads   Impressum

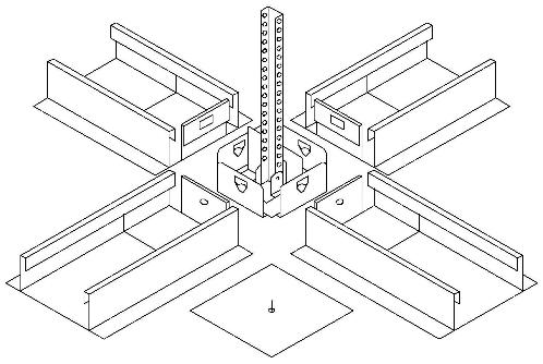
Knoten-Bandrastersystem VES-L320-KN

DECKENSYSTEME

Standardkassetten mit T24/T15-Schienen

Standardkassetten als Klemmsystem

Flurdecken

Bandrasterdecke

- Parallelbandraster

- Kreuzbandraster

- Knotenbandraster

Einhängesystem

Deckensegel

Designdecken

Kühldecken

Baffeldecken

Akustik

Maschengrössen

senkrechte Verkleidung

E-Mail - Kontakt

Mit dem Vesmetal-Knotenbandrastersystem VES-L320-KN heben Sie das VES-L320-KB Kreuzbandrastersystem noch deutlicher im Design hervor. 

Die Standardbandraster gibt es in den Breiten:

100mm, weitere nur auf Anfrage!

Die Standardmaschen sind:

28 x 12 x 2,0 x 1,5 mm

30 x 13 x 2,0 x 1,5 mm

35 x 15 x 2,5 x 1,5 mm

39 x 18 x 3,0 x 1,5 mm

Downloads für Bandrastersysteme:

- Bandrastersystem komplett (PDF 0,8 MB)

- Ausschreibung (Word) Parallelbandraster 

- Ausschreibung (Word) Kreuzbandraster

- Ausschreibung (Word) Knotenpunktbandraster

- weitere Downloadmöglichkeiten

Die Streckmetall-Langfeldplatten werden stirnseitig auf die Bandrasterkonstruktion aufgelegt. Die Toleranzen bei den gekanteten Elemente sollte bei max. 2mm liegen, so dass eine gleichmäßige Streckmetall-Oberfläche sichtbar wird.

Bei Plattengrößen, die 0,5qm/Element übersteigen empfiehlt sich aus Stabilitätsgründen einen zusätzlichen Winkel in 1,5mm Stärke einzuschweißen.

Anschrift / Kontakt:

VESMETAL Vertriebsbüro Deutschland Henning Leiser

Postfach 11 03 --- D-35301 Grünberg (Deutschland)

Tel: 06401-22388-0 --- Fax: 06401-22388-20 --- Funk: 0170-4108018